H76H对夹蝶式止回阀
- 销售:021-32051999
- 销售:021-32050777
- 传真:021-66099555
详情介绍
- 产品介绍
- 服务承诺
- 订货流程
H76H对夹蝶式止回阀用于纯净管路及工业、环保、水处理、高层建筑给排水管路,阻止介质逆向流动之用。该止回阀采用对夹式,蝶板为两个半圆,且采用弹簧强制复位,密封面可为本体堆焊耐磨材料或衬橡胶,使用范围广,密封可靠。
主要技术参数
公称通径 | DN(mm) | 50~1200 | |||
公称压力 | PN(MPa) | 1.0 | 1.6 | 2.5 | 4.0 |
试验压力Ps(MPa) | 强度试验 | 1.5 | 2.4 | 3.75 | 6.0 |
密封试验 | 1.1 | 1.76 | 2.75 | 4.4 | |
适用介质 | 水、蒸汽、油品、污水、酸碱类 | ||||
适用温度 | 橡胶密封面(X)-20℃~120℃ | ||||
主要零件材料
名称 | 材料 |
阀体 | 铸铁、铸钢、不锈钢、铬镍钼钛钢 |
阀板 | 铸铁、铸钢、不锈钢、铬镍钼钛钢 |
阀杆 | 碳钢、2Cr13、不锈钢、铬镍钼钛钢 |
密封圈 | 橡胶、不锈钢、合金钢 |
弹簧 | 60Si2Mn、3Cr13、17-7PH、INCONEL |

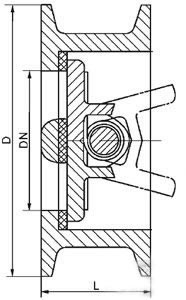
H76X-6/10连接尺寸
通径DN | 50 | 65 | 80 | 100 | 125 | 150 | 200 | 250 | 300 | 350 | 400 | 450 | 500 | 600 | 700 | 800 | 900 | 1000 | 1200 |
L | 43 | 46 | 64 | 64 | 70 | 76 | 89 | 114 | 114 | 127 | 140 | 152 | 152 | 178 | 229 | 241 | 241 | 300 | 360 |
D | 100 | 120 | 135 | 155 | 185 | 185 | 265 | 320 | 368 | 428 | 482 | 532 | 585 | 685 | 800 | 905 | 1005 | 1115 | 1325 |
H76H/W-16/25/40连接尺寸
通径DN | 50 | 65 | 80 | 100 | 125 | 150 | 200 | 250 | 300 | 350 | 400 | 450 | 500 | 600 | |
L | PN1.0/1.6/2.5 | 60 | 67 | 73 | 73 | 83 | 98 | 127 | 146 | 181 | 184 | 198 | 203 | 219 | 222 |
PN4.0 | 60 | 67 | 73 | 73 | 83 | 98 | 127 | 146 | 181 | 222 | 231 | / | / | / | |
D | PN1.0 | 107 | 127 | 142 | 162 | 192 | 218 | 273 | 328 | 378 | 438 | 489 | 539 | 594 | 695 |
PN1.6 | 107 | 127 | 142 | 162 | 192 | 218 | 273 | 328 | 378 | 444 | 495 | 555 | 617 | 734 | |
PN2.5 | 107 | 127 | 142 | 168 | 194 | 224 | 284 | 340 | 400 | 458 | 514 | / | / | / | |
PN4.0 | 107 | 127 | 142 | 168 | 194 | 224 | 290 | 352 | 417 | 474 | 546 | / | / | / | |
良好的品质、优良的服务 凯时网站为你创造更多价值!
“凯时网站阀门”的期望,不断提升服务质量,精益求精,“真诚的服务”是“凯时网站”永恒的主题。“凯时网站”严格按照IS09001-2000 质量体系认证要求,质量严格把关, 责任到人,确保生产、销售、服务的健康运行。加强与用户沟通,竭诚为广大客户提供优良产品,贴心服务。特此我厂做出以下承诺:
产品标准:
产品严格按照中国GB、HG 标准和美国API等标准设计、制造、验收。密封面硬度达到国家规定要求,宽度超过国家标准。
售前服务:
产品介绍,技术交流,非标产品设计,疑难解答。
售中服务:
守信合同,及时供货,随时保持与客户联系。 对特殊或复制的产品,我厂安排技术人员对用户进行产品使用、故障排除
售后服务:
1、“凯时网站”牌产品品质期为自出厂起12个月,实行“三包”服务(包退、包换、保修)。
2、产品在使用中我厂定期组织技术、质检人员进行访问,征询用户对产品质量、 使用状况、改进意见等方面的反馈, 以便进一步提高产品质量。
3、对用户投诉质量问题,快速作出反应,售后服务人员在24-36小时(省外48小时)赶赴现场。
4、对售后服务,要求用户填写服务后的质量反馈信息表,并作出鉴定意见,以便提高凯时网站的服务质量。
1、客户如对产品有特殊要求,须在订货合同中提供以下说明:
a、结构长度;
b、连接形式;
c、公称直径、全通径、缩径、管道尺寸;
d、运行介质及温度、压力范围;
e、试验、检验标准及其他要求
2、本厂可根据客户特定要求配置各类驱动装置。
3、如由客户提供确定的阀门类型和型号时,客户应正确说明其型号的含义和要求,在供需双方理解一致的条件下签订合同。
4、期货、订货的客户请先来电函详细告诉所需的阀门型号、规格、数量以及交货时间、地点,并按总的30%预定金或全额货款及时汇入我厂帐户,其余货款待发货前汇入,以便及时安排发货。
订单流程:
1、客户采购清单传真至021-33872143,或来电咨询 021-33872141
2、收到客户采购清单,为客户提供阀门型号选型与报价(价格清单)。
3、具体商定:交货期、特殊要求等事宜。
订货须知:
1、客户如对产品有特殊要求,须在订货合同中提供以下说明:
|
|||||
|
|||||
2、本厂可根据客户特定要求配置各类驱动装置。
|
|||||
3、如由客户提供确定的阀门类型和型号时,客户应正确说明其型号的含义和要求,在供需双方理解一致的条件下签订合同。
|
|||||
4、期货、订货的客户请先来电函详细告诉所需的阀门型号、规格、数量以及交货时间、地点,并按总的30%预定金或全额货款及时汇入我厂账户, 其余货款待发货前汇入,以便及时安排发货。
|
售中服务:
守信合同,及时供货,随时保持与客户联系。
对特殊或复制的产品,我厂安排技术人员对用户进行产品使用、故障排除
售后服务:
1、“凯时网站”产品品质期为自出厂起12个月,实行“三包”服务(包退、包换、保修)。
2、产品在使用中我厂定期组织技术、质检人员进行访问,征询用户对产品质量、使用状况、改进意见等方面的反馈,
以便进一步提高产品质量。
3、对用户投诉质量问题,快速作出反应,售后服务人员在24-36小时(省外48小时)赶赴现场。
4、对售后服务,要求用户填写服务后的质量反馈信息表,并作出鉴定意见,以便提高“凯时网站”的服务质量。
声明 |
|