凯时网站

铸钢闸阀

铸钢闸阀
  • 销售:021-32051999
  • 销售:021-32050777
  • 传真:021-66099555

详情介绍

  • 产品介绍
  • 服务承诺
  • 订货流程

铸钢闸阀:是常用的截断阀之一,主要用来接通或截断管路中的介质,不适用于调节介质流量。铸钢闸阀适用的压力、温度及口径范围很大,尤其适用于中、大口径的管道。 公称尺寸 DN15~DN800,公称压力 1.6MPa~20.0MPa,密封面采用石棉石墨或柔性石墨,工作温度 ≤570℃,操作方式有手动、齿轮传动、电动、气动等,适用于水、蒸汽、油品介质管路中。

产品特点

1. 结构紧凑,设计合理,阀门刚性好,通道流畅,流阻系数小。

2. 密封面为不锈钢或硬质合金,使用寿命长。

3. 采用石棉石墨或柔性石墨,密封可靠,操作轻便灵活。

4. 可采用各种配管法兰标准及法兰密封面形式,满足各种工程需要及用户要求。

5. 广泛应用于石油、化工、水力、火力电站各种系统的管路上。

Z41H、Z41Y、Z41W 型 PN16~PN200 钢制楔式闸阀:手动、法兰连接形式、明杆楔式刚性单闸板,阀座密封面材料为不锈钢,公称压力 PN16~PN200,阀体材料为碳素钢(Z41H-16C Z41H-25 Z41Y-16C Z41Y-25 Z41H-40~200)、不锈钢(Z41W-16P Z41W-25P Z41Y-16P Z41Y-25P Z41W-16R Z41W-25R Z41Y-16R Z41Y-25R Z41H-40P~200P Z41H-40R~200R)、合金钢(Z41Y-16I Z41Y-25I Z41Y-16V Z41Y-25V Z41H-40I~200I)的闸阀。

Z41 闸阀适用于工作压力 1.6~20.0MPa,工作温度 -29℃~570℃的石油、化工、水力、火力电站各种系统的管路上,切断或接通管路介质。适用介质为:水、油品、蒸气、及酸、碱、氨、尿素、含硫天然气等。

铸钢闸阀 主要性能参数


Z41H、Z41Y、Z41W 型 PN16~PN200 钢制楔式闸阀主要性能参数

型号

PN

工作压力 / MPa

适用温度 / ℃

适用介质

Z41H-16C、25

16、25

1.6、2.5

≤ 425

水、蒸汽、油品

Z41Y-16C、25

Z41W-16P、25P

16、25

1.6、2.5

≤ 150

弱腐蚀性介质

Z41Y-16P、25P

Z41W-16R、25R

Z41Y-16R、25R

Z41Y-16I、25I

≤ 550

油品、蒸汽

Z41Y-16V、25V

≤ 570

水、蒸汽、油品

Z41H-40~200

40~200

4.0~20.0

≤ 425

水、蒸汽、油品

Z41H-40I~200I

40~200

4.0~20.0

≤ 550

水、蒸汽、油品

Z41H-40P~200P

40~200

4.0~20.0

≤ 200

硝酸类

Z41H-40R~200R

40~200

4.0~20.0

≤ 200

硝酸类


铸钢闸阀 主要零件材料


Z41H、Z41Y、Z41W 型 PN16~PN200 钢制楔式闸阀零部件材料

型号

材料

阀体、阀盖、闸板

阀杆

密封面

填料

Z41H-16C、25

碳素钢

铬不锈钢

堆焊铁基合金

石棉石墨或柔性石墨

Z41Y-16C、25

堆焊硬质合金

Z41W-16P、25P

铬镍钛不锈钢

铬镍钛不锈钢

本体材料

石棉石墨或柔性石墨

Z41Y-16P、25P

堆焊硬质合金

Z41W-16R、25R

铬镍钼钛不锈钢

铬镍钼钛不锈钢

本体材料

Z41Y-16R、25R

堆焊硬质合金

Z41Y-16I、25I

铬钼合金钢

铬钼合金钢

堆焊硬质合金

Z41Y-16V、25V

铬钼钒钢

铬钼钒钢

堆焊硬质合金

柔性石墨

Z41H-40~200

碳钢

铬不锈钢

碳钢+Cr13或硬质合金

柔性石墨

Z41H-40I~200I

铬钼钢

合金钢

合金钢+硬质合金

柔性石墨

Z41H-40P~200P

铬镍钛钢

不锈钢

不锈钢或不锈钢+硬质合金

柔性石墨

Z41H-40R~200R

铬镍钼钛钢

不锈钢

不锈钢或不锈钢+硬质合金

柔性石墨


铸钢闸阀

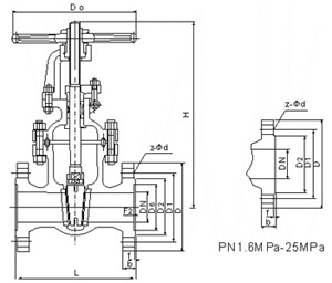
铸钢闸阀 主要外形尺寸


Z41H、Z41Y、Z41W 型 PN16 钢制楔式闸阀主要外形及结构尺寸(mm)

DN

L

D

D1

D2

b

f

z×ød

H

D0

重量 / kg

15

130

95

65

45

14

2

4×ø14

175

200

4

20

150

105

75

55

14

2

4×ø14

180

200

5

25

160

115

85

65

14

2

4×ø14

210

200

6

32

180

135

100

78

16

2

4×ø18

210

200

7

40

200

145

110

85

16

3

4×ø18

350

200

19

50

250

160

125

100

16

3

4×ø18

358

240

29

65

265

180

145

120

18

3

4×ø18

375

240

33

80

280

195

160

135

20

3

8×ø18

433

280

45

100

300

215

180

155

20

3

8×ø18

502

320

63

125

325

245

210

185

22

3

8×ø18

612

360

108

150

350

280

240

210

24

3

8×ø23

676

360

134

200

400

335

295

265

26

3

12×ø23

820

400

192

250

450

405

355

320

30

3

12×ø25

969

450

273

300

500

460

410

375

30

4

12×ø25

1142

560

379

350

550

520

470

435

34

4

16×ø25

1280

640

590

400

600

580

525

485

36

4

16×ø30

1452

640

850

450

650

640

585

545

40

4

20×ø30

1541

720

907

500

700

705

650

608

44

4

20×ø34

1676

720

958

600

800

840

770

718

48

5

20×ø41

1874

800

1112



Z41H、Z41Y、Z41W 型 PN25 钢制楔式闸阀主要外形及结构尺寸(mm)

DN

L

D

D1

D2

b

f

z×ød

H

D0

重量 / kg

15

130

95

65

45

16

2

4×ø14

175

200

4

20

150

105

75

55

16

2

4×ø14

180

200

5

25

160

115

85

65

16

2

4×ø14

210

220

6

32

180

135

100

78

18

2

4×ø18

210

220

7

40

200

145

110

85

18

3

4×ø18

350

220

18

50

250

160

125

100

20

3

4×ø18

358

250

25

65

265

180

145

120

22

3

8×ø18

373

280

35

80

280

195

160

135

22

3

8×ø18

435

300

50

100

300

230

190

160

24

3

8×ø23

500

350

65

125

325

270

220

188

28

3

8×ø25

614

400

100

150

350

300

250

218

30

3

8×ø25

674

450

135

200

400

360

310

278

34

3

12×ø25

818

500

180

250

450

425

370

332

36

3

12×ø30

969

550

207

300

500

485

430

390

40

4

16×ø30

530

560

400

350

550

550

490

448

44

4

16×ø34

1280

640

631

400

600

610

550

505

48

4

16×ø34

1450

640

900

450

650

660

600

555

50

4

20×ø34

1541

720

1013

500

700

730

660

610

52

4

20×ø41

1676

720

1166

600

800

840

770

718

56

5

20×ø41

1874

800

1258

700

900

955

875

815

60

5

24×ø48

2280

850

800

1000

1070

990

930

64

5

24×ø48

2420

900



Z41H、Z41Y、Z41W 型 PN40、PN63 钢制楔式闸阀主要外形及结构尺寸(mm)

DN

L

D

H

W

重量 / kg

50

250

160

685

250

30

175

30

65

280

180

705

250

41

200

300

42

80

310

195

780

250

48

210

350

51

100

350

230

805

300

78

250

400

80

125

400

270

890

350

112

295

400

125

150

450

300

945

350

152

340

1002

450

175

200

550

375

1100

400

200

405

1150

450

220

250

650

445

1350

450

300

470

500

320

300

750

510

1445

500

450

530

1528

650

490

350

850

570

1665

680

595

1792

700

400

950

655

1930

850

670

2180

920



Z41H、Z41Y、Z41W 型 PN100 钢制楔式闸阀主要外形及结构尺寸(mm)

DN

L

D

H

W

重量 / kg

50

250

195

680

300

48

65

280

220

720

300

68

80

310

230

870

350

92

100

350

265

885

400

133

125

400

310

1020

450

216

150

450

350

1110

500

275

200

550

430

1225

500

360

250

650

500

1257

550

700



Z41H、Z41Y、Z41W 型 PN160 钢制楔式闸阀主要外形及结构尺寸(mm)

DN

L

D

H

W

重量 / kg

65

340

245

820

350

110

80

390

260

850

350

145

100

450

300

980

400

192

125

525

355

1050

450

307



Z41H、Z41Y、Z41W 型 PN200 钢制楔式闸阀主要外形及结构尺寸(mm)

DN

L

D

H

W

重量 / kg

50

350

210

712

350

108

65

410

260

765

400

195

80

470

290

835

450

250

100

550

360

950

500

350

125

650

385

1080

500

540

150

750

440

1140

600

738


良好的品质、优良的服务 凯时网站为你创造更多价值!

“凯时网站阀门”的期望,不断提升服务质量,精益求精,“真诚的服务”是“凯时网站”永恒的主题。“凯时网站”严格按照IS09001-2000 质量体系认证要求,质量严格把关, 责任到人,确保生产、销售、服务的健康运行。加强与用户沟通,竭诚为广大客户提供优良产品,贴心服务。特此我厂做出以下承诺:

产品标准:

产品严格按照中国GBHG 标准和美国API等标准设计、制造、验收。密封面硬度达到国家规定要求,宽度超过国家标准。

售前服务:

产品介绍,技术交流,非标产品设计,疑难解答。

售中服务:

守信合同,及时供货,随时保持与客户联系。 对特殊或复制的产品,我厂安排技术人员对用户进行产品使用、故障排除

售后服务:

1、“凯时网站”牌产品品质期为自出厂起12个月,实行“三包”服务(包退、包换、保修)。

2、产品在使用中我厂定期组织技术、质检人员进行访问,征询用户对产品质量、 使用状况、改进意见等方面的反馈, 以便进一步提高产品质量。

3、对用户投诉质量问题,快速作出反应,售后服务人员在24-36小时(省外48小时)赶赴现场。

4、对售后服务,要求用户填写服务后的质量反馈信息表,并作出鉴定意见,以便提高凯时网站的服务质量。

1、客户如对产品有特殊要求,须在订货合同中提供以下说明:

a、结构长度;

b、连接形式;

c、公称直径、全通径、缩径、管道尺寸;

d、运行介质及温度、压力范围;

e、试验、检验标准及其他要求

2、本厂可根据客户特定要求配置各类驱动装置。

3、如由客户提供确定的阀门类型和型号时,客户应正确说明其型号的含义和要求,在供需双方理解一致的条件下签订合同。

4、期货、订货的客户请先来电函详细告诉所需的阀门型号、规格、数量以及交货时间、地点,并按总的30%预定金或全额货款及时汇入我厂帐户,其余货款待发货前汇入,以便及时安排发货。

订单流程:

1、客户采购清单传真至021-33872143,或来电咨询 021-33872141

2、收到客户采购清单,为客户提供阀门型号选型与报价(价格清单)。

3、具体商定:交货期、特殊要求等事宜。

订货须知:

1、客户如对产品有特殊要求,须在订货合同中提供以下说明:

a、结构长度;

b、连接形式;

c、公称直径、全通径、缩径、管道尺寸;

d、运行介质及温度、压力范围;

e、试验、检验标准及其他要求

2、本厂可根据客户特定要求配置各类驱动装置。

3、如由客户提供确定的阀门类型和型号时,客户应正确说明其型号的含义和要求,在供需双方理解一致的条件下签订合同。

4、期货、订货的客户请先来电函详细告诉所需的阀门型号、规格、数量以及交货时间、地点,并按总的30%预定金或全额货款及时汇入我厂账户, 其余货款待发货前汇入,以便及时安排发货。

售中服务:

守信合同,及时供货,随时保持与客户联系。

对特殊或复制的产品,我厂安排技术人员对用户进行产品使用、故障排除

售后服务:

1、“凯时网站”产品品质期为自出厂起12个月,实行三包服务(包退、包换、保修)。

2、产品在使用中我厂定期组织技术、质检人员进行访问,征询用户对产品质量、使用状况、改进意见等方面的反馈,
以便进一步提高产品质量。

3、对用户投诉质量问题,快速作出反应,售后服务人员在24-36小时(省外48小时)赶赴现场。

4、对售后服务,要求用户填写服务后的质量反馈信息表,并作出鉴定意见,以便提高“凯时网站”的服务质量。

声明

  1. 本文中所有文字、数据、图片均只适用于参考,铸钢闸阀性能参数、结构尺寸参数、价格等详情,请联系凯时网站,电话:4000-700-665。
  2. 若无说明,本文章均为原创,转载时请注明本文地址,谢谢合作!